Lue seuraavat ohjeet ennen mustekasettien vaihtamista.
Säilytä mustekasetteja huoneenlämmössä poissa suorasta auringonvalosta.
Epson suosittelee käyttämään mustekasetin ennen pakkaukseen painettua päivämäärää.
Parhaan lopputuloksen takaamiseksi säilytä mustekasettien pakkaukset pohja alaspäin.
Jos tuot mustekasetin kylmästä lämpimään, anna kasetin lämmetä huoneenlämmössä vähintään 12 tuntia ennen käyttöä.
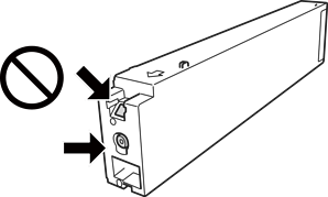
Älä koske kuvassa näytettyihin alueisiin. Tämä saattaa estää kasetin normaalin toiminnan ja tulostuksen.

Asenna kaikki mustekasetit; muussa tapauksessa et voi tulostaa.
Älä sammuta tulostinta musteen lataamisen aikana. Jos mustetta ei ladata kokonaan, tulostaminen voi olla mahdotonta.
Älä säilytä tulostinta ilman mustekasetteja. Älä katkaise tulostimen virtaa kesken mustekasetin vaihtamisen. Muutoin tulostuspään suuttimissa jäljellä oleva muste kuivuu ja estää tulostamisen.
Jos mustekasetti joudutaan poistamaan väliaikaisesti, musteensyöttöalue on suojattava lialta ja pölyltä. Säilytä mustekasetti samassa tilassa tulostimen kanssa siten, että musteaukko osoittaa sivullepäin. Musteaukossa on venttiili, joka estää musteen valumisen, joten sitä ei ole tarpeen peittää tai tukkia.
Irrotetuissa mustekaseteissa voi olla mustetta musteensyöttöaukon ympärillä, joten ole varovainen ettet levitä mustetta ympäröivälle alueelle mustekasetteja irrottaessasi.
Tämä tulostin käyttää mustekasetteja, joissa on kunkin kasetin jäljellä olevaa mustemäärää ja muita tietoja tarkkaileva vihreä siru. Tämä tarkoittaa myös, että vaikka kasetti poistetaan tulostimesta ennen musteen loppumista, sitä voidaan myöhemmin käyttää uudelleen, kun se on asennettu takaisin tulostimeen.
Jotta tulostuslaatu olisi aina paras mahdollinen ja tulostuspäät pysyisivät hyvässä kunnossa, mustekasetissa on vielä hieman mustetta jäljellä, kun tulostin ilmoittaa, että mustekasetti pitäisi vaihtaa. Tämä ylijäämä ei sisälly ilmoitettuihin riittoisuuksiin.
Vaikka mustekaseteissa saattaa olla kierrätysmateriaaleja, tämä ei vaikuta tulostimen toimintaan tai suorituskykyyn.
Mustekasettien ominaisuuksia ja ulkonäköä voidaan muuttaa niiden parantamiseksi ilman ilmoitusta.
Älä pura tai muokkaa mustekasetteja. Muutoin et välttämättä voi tulostaa normaalisti.
Ilmoitetut musteiden kestot vaihtelevat tulostettavien kuvien, paperityypin, tulostusmäärän ja ympäristöolojen, kuten lämpötilan, mukaan.
Älä pudota tulostinta tai iske sitä kovia esineitä vasten, sillä muuten mustetta saattaa vuotaa tulostimesta.
Jotta tulostuspään toimintakyky säilyisi mahdollisimman hyvänä, tulostin kuluttaa tulostuksen lisäksi hieman kaikkien kasettien mustetta ylläpitotoimissa, kuten kasetin vaihdon ja tulostuspään puhdistuksen yhteydessä.
Tulostimen mukana toimitettujen mustekasettien mustetta käytetään osittain alkuasennuksessa. Korkealaatuisten tulosteiden tuottamiseksi tulostimen tulostuspää on täynnä mustetta. Tämä kertatoimenpide kuluttaa jonkin verran mustetta, ja siksi nämä mustekasetit saattavat tulostaa vähemmän sivuja kuin seuraavaksi asennettavat mustekasetit.