Bagian-bagian Staple Finisher

No.

Item Opsional

Gambaran Umum

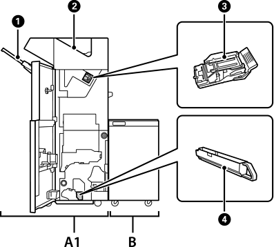
A1

Staple Finisher

Mengurutkan dan menstaple kertas sebelum mengeluarkannya. Melubangi kertas menggunakan unit pelubang kertas opsional.

B

Finisher Bridge Unit

Agar dapat mengoperasikan staple finisher atau booklet finisher, Anda harus memasang finisher bridge unit.

Baki Finisher

Menyimpan dokumen yang disortir atau distaple.

Baki keluaran

Utamanya menyimpan faks yang diterima.

Staple Cartridge

Untuk jahitan datar.

Baki Serpihan Lubang

Menampung serpihan lubang kertas.