> Menggunakan Item Opsional > Staple Finisher-P2 > Nama Bagian-bagian Staple Finisher-P2

Nama Bagian-bagian Staple Finisher-P2

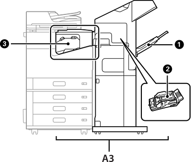
No.

Item Opsional

Gambaran Umum

A3

Staple Finisher-P2

Mengurutkan dan menstaple kertas sebelum mengeluarkannya.

Baki Finisher

Menyimpan dokumen yang disortir atau distaple.

Kartrij Staple

Untuk jahitan datar.

Unit Staple Finisher Bridge

Hubungkan printer ke staple finisher-P2. Buka saat mengeluarkan kertas macet.