
|
N. |
Elementi opzionali |
Panoramica |
|---|---|---|
|
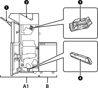
A1 |
Staple Finisher |
Ordina e pinza la carta prima di espellerla. Pratica fori tramite l’unità opzionale di perforazione. |
|
B |
Finisher Bridge Unit |
Per azionare il finisher di pinzatura o per opuscoli è necessario installare l’unità bridge per finisher. |
|
|
Vassoio del finisher |
Trattiene i documenti ordinati o pinzati. |
|
|
Vassoio di uscita |
Archivia i fax ricevuti. |
|
|
Cartuccia graffette |
Per cucitura piatta. |
|
|
Vassoio degli scarti di perforazione |
Raccoglie gli scarti dei fori praticati. |