
|
|
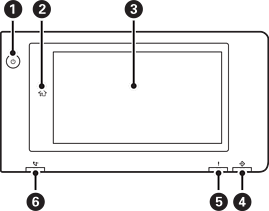
Pulsante di accensione Spia di accensione |
|
|
Tasto Home Consente di tornare alla schermata iniziale. |
|
|
Touchscreen Visualizza le voci di impostazione e i messaggi. In caso di inattività per un determinato periodo di tempo, la stampante entra in modalità di attesa e il display si spegne. Toccare un punto qualsiasi del touchscreen per accendere il display. A seconda delle impostazioni correnti, quando viene premuto il pulsante di accensione la stampante viene riattivata dalla modalità di sospensione. |
|
|
Spia dati Lampeggia quando la stampante elabora dati e si accende quando sono presenti lavori in attesa di elaborazione. |
|
|
Spia di errore Si accende o lampeggia quando si verifica un errore. Visualizza l’errore sullo schermo. |
|
|
Spia di ricezione fax Si accende quando vengono ricevuti documenti non ancora elaborati. |
Il pannello di controllo è inclinabile.
