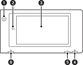
操作パネル

電源ボタン][電源ボタンランプ

ホームボタン

ホーム画面に戻ります。

タッチパネル

操作項目やメッセージを表示します。

一定の時間以上操作しないとスリープモードになり、表示が消えます。タッチパネルをタップすると復帰します。設定によっては、電源ボタンを押すことにより、スリープモードから元の明るさに戻ります。

データランプ

データ処理中に点滅、待機中のジョブがあるときに点灯します。

エラーランプ

エラー発生時に点滅または点灯します。

エラー内容は画面に表示されます。

ファクス受信ありランプ

まだ処理していないファクスがある場合に点灯します。

操作パネルは角度を変えることができます。