
|
№. |
Дурын зүйл |
Тойм |
|---|---|---|
|
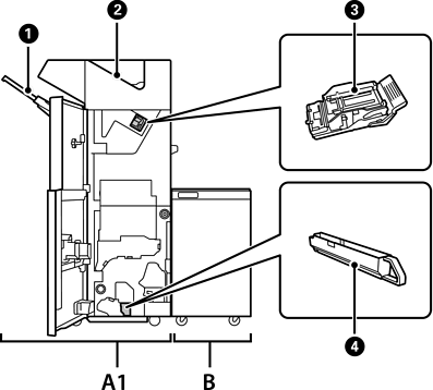
A1 |
Staple Finisher |
Үүнийг гаргахаас өмнө цаасыг ангилж үднэ. Дурын цоологчийг ашиглан нүхийг цоолно. |
|
B |
Finisher Bridge Unit |
Үдээсний өнгөлөгч юмуу товхимолын өнгөлөгчийг ажиллуулахын тулд та өнгөлгөөний гүүрийг суулгах шаардлагатай. |
|
|
Өнгөлгөөний тавиур |
Эрэмбэлсэн ба үдсэн бичиг баримтыг барина. |
|
|
Гаралтын тэвш |
Голдуу хүлээн авсан факсуудыг хадгална. |
|
|
Үдээсний хайрцаг |
Хавтгай үдээсэнд. |
|
|
Цоологчийн хогийн тавиур |
Цоолох нүхний хэлтэрхийг цуглуулна. |