Baca arahan berikut sebelum menggantikan katrij dakwat.
Simpan kartrij dakwat pada suhu bilik normal dan jauhkan mereka dari cahaya matahari langsung.
Epson mengesyorkan supaya menggunakan kartrij dakwat sebelum tarikh yang dicetak pada bungkusan.
Untuk hasil yang terbaik, simpan bungkusan kartrij dakwat dengan bahagian bawah menghala ke bawah.
Selepas membawa kartrij dakwat keluar dari tempat penyimpanan sejuk, biarkan ia panas ke suhu bilik selama sekurang-kurangnya 12 jam sebelum menggunakannya.
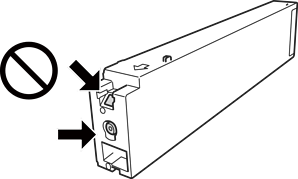
Jangan menyentuh bahagian-bahagian yang ditunjukkan dalam ilustrasi. Berbuat demikian boleh menghalang operasi normal dan percetakan.

Pasang semua kartrij dakwat; jika tidak anda tidak boleh mencetak.
Jangan matikan pencetak semasa pengecasan dakwat. Sekiranya pengecasan dakwat tidak lengkap, anda mungkin tidak dapat mencetak.
Jangan biarkan pencetak dengan kartrij dakwat terkeluar atau jangan matikan pencetak semasa penggantian kartrij. Jika tidak, baki dakwat dalam muncung kepala cetakan akan kering dan anda mungkin tidak dapat mencetak.
Sekiranya anda perlu mengeluarkan kartrij dakwat buat sementara waktu, pastikan anda melindungi kawasan bekalan dakwat dari kotoran dan debu.Simpan kartrij dakwat dalam persekitaran yang sama dengan pencetak, dengan port bekalan dakwat menghadap ke sisi.Oleh sebab port bekalan dakwat dilengkapi dengan injap yang direka untuk menghalang pelepasan dakwat berlebihan, tidak ada keperluan untuk membekalkan penutup atau palam anda sendiri.
Kartrij dakwat yang telah dikeluarkan mungkin mempunyai dakwat di sekitar port bekalan dakwat, jadi berhati-hati agar tidak menumpahkan dakwat di kawasan sekitar ketika mengeluarkan kartrij.
Pencetak ini menggunakan kartrij dakwat yang dilengkapi dengan cip hijau yang memantau maklumat seperti jumlah baki dakwat untuk setiap kartrij.Ini bermakna walaupun kartrij telah dikeluarkan daripada pencetak sebelum ia digunakan, anda masih boleh menggunakan kartrij selepas memasukkannya semula ke dalam pencetak.
Untuk memastikan anda menerima premium kualiti cetakan dan untuk membantu melindungi kepala cetakan anda, simpanan keselamatan dakwat pemboleh ubah kekal dalam kartrij apabila pencetak menunjukkan perlu menggantikan kartrij. Kadar pulangan yang disebut harga untuk anda tidak termasuk simpanan ini.
Walaupun kartrij dakwat mungkin mengandungi bahan-bahan kitar semula, ini tidak menjejaskan fungsi pencetak atau prestasi.
Spesifikasi dan rupa kartrij dakwat adalah tertakluk kepada perubahan tanpa notis terlebih dahulu untuk penambahbaikan.
Jangan membuka atau merombak kartrij dakwat, jika tidak anda mungkin tidak dapat mencetak secara normal.
Kadar hasil semasa sebut harga mungkin berbeza-beza bergantung kepada imej yang anda cetak, jenis kertas yang anda gunakan, kekerapan cetakan dan keadaan persekitaran seperti suhu.
Jangan jatuhkan atau mengetuk ia terhadap objek keras; jika tidak, dakwat yang mungkin bocor.
Untuk mengekalkan prestasi optimum kepala cetakan, sesetengah dakwat digunakan dari semua kartrij bukan sahaja semasa percetakan tetapi juga semasa operasi penyelenggaraan seperti pembersihan kepala cetakan.
Dakwat dalam kartrij dakwat yang dibekalkan dengan pencetak anda sebahagiannya digunakan semasa persediaan awal. Dalam usaha untuk menghasilkan cetakan berkualiti tinggi, kepala cetakan di pencetak anda akan dicas sepenuhnya dengan dakwat. Proses sekali ini menggunakan kuantiti dakwat dan oleh itu kartrij ini mungkin menghasilkan cetakan halaman yang lebih sedikit berbanding kartrij dakwat berikutnya.