
|
|
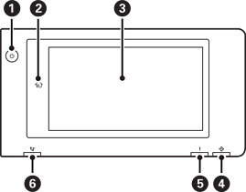
Aan/uit-knopAan/uit-lampje |
|
|
Startknop Hiermee keert u terug naar het startscherm. |
|
|
Touchscreen Hierop worden de instellingsitems en berichten weergegeven. Wanneer er gedurende een bepaalde periode geen bewerkingen worden uitgevoerd, gaat de printer in slaapstand en wordt het scherm uitgeschakeld. Tik op het touchscreen om het scherm in te schakelen. Afhankelijk van de huidige instellingen wordt de printer uit de slaapstand gehaald als u op de aan/uit-knop drukt. |
|
|
Gegevenslampje Knippert wanneer de printer gegevens verwerkt en gaat branden wanneer er taken in de wachtrij staan om te worden verwerkt. |
|
|
Lampje voor storingen Gaat branden of knippert wanneer een fout optreedt. Fouten worden hiermee op het scherm aangegeven. |
|
|
Faxontvangstlampje Gaat branden wanneer er documenten zijn ontvangen die nog niet zijn verwerkt. |
U kunt het bedieningspaneel kantelen.
