
|
Nr. |
Valgfritt element |
Oversikt |
|---|---|---|
|
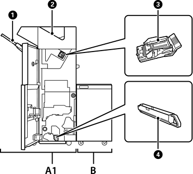
A1 |
Staple Finisher |
Sorterer og stifter papir før det mates ut. Lager hull med den valgfrie hullemaskinenheten. |
|
B |
Finisher Bridge Unit |
For å bruke sluttbehandleren for stifter eller brosjyrer må du installere broenheten til sluttbehandleren. |
|
|
Sluttbehandlerskuff |
Holder sorterte eller stiftede dokumenter. |
|
|
Utskuff |
Oppbevarer hovedsaklig mottatte fakser. |
|
|
Stiftepatron |
For flate sømmer. |
|
|
Hullavfallsskuff |
Samler avfallet fra hullemaskinen. |