Citiţi următoarele instrucţiuni înainte de a înlocui cartuşele de cerneală.
Depozitaţi cartuşele de cerneală la temperatura camerei şi feriţi-le de lumina solară directă.
Epson recomandă utilizarea cartuşelor de cerneală înainte de data imprimată pe ambalaj.
Pentru a obţine cele mai bune rezultate, depozitaţi ambalajele în care se găsesc cartuşele de cerneală cu partea inferioară a cartuşului în jos.
După aducerea unui cartuş de cerneală într-o locaţie interioară dintr-un loc de depozitare rece, permiteţi încălzirea cartuşului la temperatura camerei timp de minim 12 ore înainte de utilizarea acestuia.
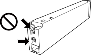
Nu atingeţi secţiunile indicate în figură. Această acţiune poate împiedica funcţionarea şi tipărirea normală.

Instalați toate cartușele de cerneală; în caz contrar nu puteți tipări.
Nu opriţi imprimanta în timpul efectuării operaţiei de încărcare cu cerneală. Dacă operaţia de încărcare cu cerneală nu s-a terminat, nu veţi putea tipări.
Nu lăsaţi imprimanta cu cartuşele scoase şi nu opriţi imprimanta în timp ce efectuaţi operaţia de înlocuire a cartuşelor. În caz contrar, cerneala rămasă pe duzele capului de tipărire se poate usca şi nu veţi putea tipări.
Dacă trebuie să scoateţi temporar un cartuş de cerneală, protejaţi zona de alimentare cu cerneală de mizerie şi praf. Depozitaţi cartuşul de cerneală în acelaşi mediu cu imprimanta, menţinând portul de alimentare cu cerneală orientat lateral. Deoarece portul de alimentare a cernelii este prevăzut cu o valvă proiectată pentru a păstra excesul de cerneală scurs, nu trebuie să folosiţi propriile dumneavoastră capace sau ştechere.
Scoateţi cartuşele de cerneală care au cerneală în jurul portului de alimentare, având grijă să nu lăsaţi cerneală pe zona din jur când scoateţi cartuşele.
Această imprimantă utilizează cartuşe de cerneală prevăzute cu un cip verde care monitorizează informaţii precum cantitatea de cerneală rămasă în fiecare cartuş. Deci, chiar dacă respectivul cartuş este scos din imprimantă înainte de a se goli, puteţi utiliza cartuşul după ce îl reintroduceţi în imprimantă.
Pentru a obţine o calitate optimă la tipărire şi pentru a proteja capul de tipărire, în cartuş se păstrează o rezervă de siguranţă de cerneală, având o cantitate variabilă, chiar şi atunci când imprimanta indică necesitatea înlocuirii cartuşului de cerneală. Randamentul indicat pentru dumneavoastră nu include această rezervă.
Cu toate că în componenţa cartuşelor de cerneală sunt incluse materiale reciclabile, acest lucru nu afectează funcţionarea sau performanţele imprimantei.
Specificaţiile şi aspectul cartuşului de cerneală pot fi modificate fără notificare prealabilă, pentru a fi îmbunătăţite.
Nu dezasamblaţi şi nu remodelaţi cartuşul de cerneală; în caz contrar, este posibil să nu puteţi tipări în condiţii normale.
Consumurile indicate pot varia în funcţie de imaginile pe care le tipăriţi, tipul de hârtie folosit, frecvenţa tipăririi şi condiţiile de mediu, precum temperatura.
Nu scăpaţi cartuşul de cerneală din mână şi nu îl loviţi de obiecte dure, deoarece pot apărea scurgeri.
Pentru a asigura performanţa optimă a capului de tipărire, o cantitate mică de cerneală este consumată din unele cartuşe nu numai în timpul imprimării, dar și în timpul operațiunilor de întreținere cum ar fi curățarea capului de tipărire.
Cartuşele de cerneală livrate împreună cu imprimanta sunt utilizate parţial în timpul configurării iniţiale. Pentru a produce documente tipărite de foarte bună calitate, capul de tipărire al imprimantei trebuie să fie complet încărcat cu cerneală. Acest proces consumă o cantitate de cerneală şi, ca urmare, aceste cartuşe pot tipări mai puţine pagini în comparaţie cu cartuşele de cerneală ulterioare.