
|
Nr. |
Element opțional |
Prezentare generală |
|---|---|---|
|
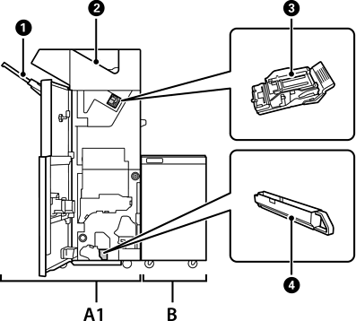
A1 |
Staple Finisher |
Sortează și capsează hârtia înainte de a o evacua. Efectuează găuri folosind unitatea de perforare opțională. |
|
B |
Finisher Bridge Unit |
Pentru a opera unitatea de finisare cu capsare sau unitatea de finisare broșură, trebuie să instalați unitatea punte de finisare. |
|
|
Tavă unitate de finisare |
Conține documente sortate sau capsate. |
|
|
Tavă de ieșire |
Depozitează în principal faxurile recepționate. |
|
|
Cartuș de capse |
Pentru legare plată. |
|
|
Tavă pentru reziduuri de perforare |
Colectează resturile de hârtie rămase în urma perforării. |