
|
№ |
Дополнительный компонент |
Обзор |
|---|---|---|
|
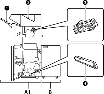
A1 |
Staple Finisher |
Выполняет сортировку и скрепкосшивание бумаги перед ее выводом из принтера. Выполняет перфорирование с помощью дополнительного дырокола. |
|
B |
Finisher Bridge Unit |
Для работы с финишером-брошюровщиком или финишером-скрепкосшивателем необходимо установить мост для финишера. |
|
|
Лоток финишера |
Служит для размещения отсортированных или сшитых скрепками документов. |
|
|
Выходной лоток |
Служит главным образом для размещения полученных факсов. |
|
|
Картридж со скрепками |
Для брошюровки втачку. |
|
|
Лоток для отходов перфорирования |
Служит для сбора отходов, остающихся после работы дырокола. |