
|
Č. |
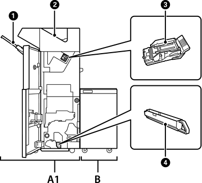
Voliteľná položka |
Prehľad |
|---|---|---|
|
A1 |
Staple Finisher |
Zoraďuje a zošíva papier pred jeho vysunutím. Dieruje pomocou voliteľnej dierovačky. |
|
B |
Finisher Bridge Unit |
Ak chcete používať zošívačku alebo brožúrovú jednotku, je potrebné nainštalovať premosťovaciu dokončovaciu jednotku. |
|
|
Dokončovacia jednotka |
Slúži na zachytenie zoradených výtlačkov alebo zošitých dokumentov. |
|
|
Výstupný zásobník |
Slúži hlavne na ukladanie prijatých faxov. |
|
|
Zošívacia kazeta |
Na ploché zošívanie. |
|
|
Zásobník na odpad po dierovaní |
Slúži na zhromažďovanie útržkov po dierovaní. |