
|
Nambari |
Kipengee cha Hiari |
Muhtasari |
|---|---|---|
|
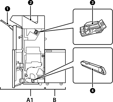
A1 |
Staple Finisher |
Hupanga na kupiga stepla kwenye karatasi kabla ya kuiondoa. Hutoboa mashimo kwa kutumia kituo cha hiari cha kutoboa shimo. |
|
B |
Finisher Bridge Unit |
Ili kutumia kikamilishi cha stepla au kikamilishi cha kijitabu, unahitaji kusakinisha kituo cha kiungio cha kikamilishi. |
|
|
Trei Kamilishi |
Hushikilia nyaraka zilizopangwa au kubanwa pamoja. |
|
|
Trei ya towe |
Kazi yake kuu ni kuhifadhi faksi zilizopokelewa. |
|
|
Kibweta cha Stepla |
Ya kushona tambarare. |
|
|
Trei ya Uchafu Unaotokana na Kutoboa |
Hukusanya uchafu unaotokana na utoboaji shimo. |