
|
|
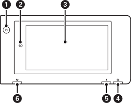
Energiýa düwmesi Energiýa çyrasy |
|
|
Öý düwmesi Siz öý ekrana dolaýar. |
|
|
Duýgur ekran Sazlamalary we habarlary görkezýär. Belli bir wagtlap hiç hili amal ýerine ýetirilmese, printer uky tertibine girýär we displeý ýapylýar. Displeýi açmak üçin, duýgur ekranyň bir ýerine degiň. Häzirki sazlamalara baglylykda, tok düwmesini basmak printeri uky tertibinden oýarýar. |
|
|
Maglumat çyrasy Printer maglumat işläp durka ýanyp sönýär we işlenilmeli işler garaşýan wagty ýanýar. |
|
|
Näsazlyk çyrasy Näsazlyk ýüze çykanda, ýanýar ýa-da ýanyp sönýär. Ekranda islendik näsazlygy görkezýär. |
|
|
Faks alyş çyrasy Heniz işlenilmedik resminamalar alnanda ýanýar. |
Dolandyryş panelini egip bilersiňiz.
