
|
|
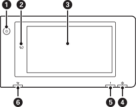
زر الطاقة مصباح الطاقة |
|
|
زر الشاشة الرئيسية يعود بك إلى الشاشة الرئيسية. |
|
|
شاشة اللمس تعرض عناصر الإعداد ورسائله. عند عدم وجود عمليات قيد التنفيذ لفترة زمنية معينة، فإن الطابعة تدخل في وضع السكون ويتم إيقاف تشغيل شاشة العرض. انقر على أي مكان في شاشة اللمس لتشغيل شاشة العرض. يؤدي الضغط على زر الطاقة إلى إخراج الطابعة من وضع السكون حسب الإعدادات الحالية. |
|
|
مصباح البيانات يومض عند معالجة الطابعة للبيانات، ويضيء عند وجود مهام تنتظر لتتم معالجتها. |
|
|
مصباح حدوث خطأ ما يومض أو يضيء عند حدوث خطأ ما. لعرض أي أخطاء على الشاشة. |
|
|
ضوء استلام فاكس يضيء عند وجود مستندات مستلمة لم تتم معالجتها بعد. |
يمكنك إمالة لوحة التحكم.
