Před výměnou inkoustových kazet si přečtěte následující pokyny.
Uchovávejte inkoustové kazety za normální pokojové teploty a chraňte je před přímým slunečním světlem.
Společnost Epson doporučuje spotřebovat inkoustovou kazetu před datem vytištěným na obalu.
Nejlepších výsledků dosáhnete uskladněním inkoustových kazet spodní stranou dolů.
Pokud přenesete inkoustovou kazetu z chladného prostředí do teplého, nechte ji před použitím alespoň 12 hodin ohřívat na pokojovou teplotu.
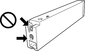
Nedotýkejte se částí zobrazených na obrázku. Mohli byste tím ohrozit normální provoz tiskárny a tisk.

Nainstalujte všechny inkoustové kazety. V opačném případě nebude možné tisknout.
Nevypínejte tiskárnu během doplňování inkoustu. Nebude-li doplňování inkoustu dokončeno, nemusí být možné tisknout.
Neponechávejte tiskárnu s vyjmutými inkoustovými kazetami ani nevypínejte tiskárnu během výměny kazety. Inkoust v tryskách tiskové hlavy vysychá a následně nemusí být možné tisknout.
Potřebujete-li dočasně vyjmout inkoustovou kazetu, ochraňte oblast přívodu inkoustu před nečistotami a prachem. Inkoustovou kazetu skladujte ve stejném prostředí jako tiskárnu, přičemž přívod inkoustu nasměrujte do stran. Protože je otvor pro přívod inkoustu vybaven ventilem navrženým tak, aby pohltil přebytečný inkoust, není třeba dodávat vlastní kryty nebo zátky.
Okolo otvoru pro přívod inkoustu vyjmutých kazet zůstává inkoust, a proto při vytahování dávejte pozor, aby se na okolní plochy inkoust nedostal.
Tato tiskárna používá inkoustové kazety vybavené ekologickým čipem, který sleduje určité informace, například množství zbývajícího inkoustu v jednotlivých kazetách. To znamená, že i když kazetu vyjmete z tiskárny ještě před jejím spotřebováním, můžete kazetu i nadále používat po opětovném vložení do tiskárny.
Aby byla zajištěna maximální kvalita tisku a ochrana tiskové hlavy, zůstává v kazetě bezpečnostní rezerva inkoustu, když tiskárna oznamuje nutnost výměny kazety. Tato rezerva není součástí uváděné kapacity.
Ačkoli inkoustové kazety mohou obsahovat recyklované materiály, nemá to vliv na funkci ani výkonnost tiskárny.
Specifikace a vzhled inkoustové kazety se mohou v rámci jejich zlepšování změnit bez předchozího upozornění.
Nedemontujte ani nepředělávejte inkoustovou kazetu, jinak nebude možné normálně tisknout.
Uvedené hodnoty se mohou lišit v závislosti na tištěných obrazech, typu používaného papíru, frekvenci tisku a podmínkách prostředí, jako je například teplota.
Dávejte pozor, aby vám kazeta neupadla nebo aby nenarazila do tvrdého předmětu. Mohlo by dojít k úniku inkoustu.
Z důvodu zachování optimálního výkonu tiskové hlavy dochází u některých kazet ke spotřebě inkoustu nejen při tisku, ale také při údržbě, například při čištění tiskové hlavy.
Inkoustové kazety dodávané s tiskárnou se částečně spotřebují při úvodním nastavení. Aby bylo dosaženo kvalitního tisku, tisková hlava tiskárny bude zcela naplněna inkoustem. Tento jednorázový proces spotřebovává množství inkoustu, a proto tyto kazety mohou vytisknout méně stránek ve srovnání s následnými inkoustovými kazetami.