> Použití volitelných položek > Sešívací finišer (Staple Finisher) > Názvy dílů finišeru se sešívačkou

Názvy dílů finišeru se sešívačkou

Č.

Volitelná položka

Souhrn

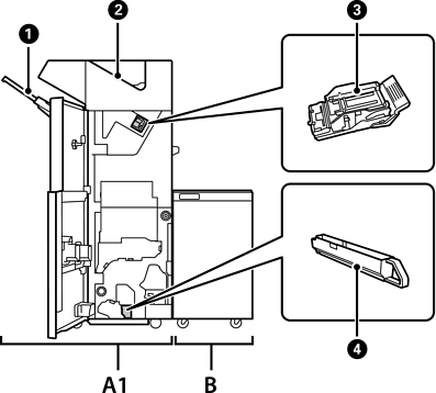
A1

Staple Finisher

Třídí a sešije papír před vysunutím. Vyděruje otvory pomocí volitelné děrovací jednotky.

B

Finisher Bridge Unit

Chcete-li provozovat finišer se sešívačkou nebo finišer na brožury, musíte nainstalovat jednotku mostu pro finišer.

Zásobník finišeru

Zde jsou umísťovány roztříděné dokumenty nebo dokumenty se svorkami.

Výstupní zásobník

Většinou slouží k uložení přijatých faxů.

Kazeta se sponkami

Pro ploché sešívání.

Zásobník na odpad z děrování

Slouží k zachycení odpadu po děrování.