
|
|
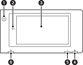
पावर बटन पावर लाइट |
|
|
होम बटन यह आपको होम स्क्रीन पर वापस ले जाती है। |
|
|
टच स्क्रीन सेटिंग आइटम और संदेश प्रदर्शित करती है। यदि किसी विशिष्ट समयावधि के लिए कोई परिचालन नहीं किया जाता है, तो प्रिंटर स्लीप मोड में प्रवेश कर जाता है और डिस्प्ले बंद हो जाता है। डिस्प्ले चालू करने के लिए टच स्क्रीन पर कहीं भी टैप करें। मौजूदा सेटिंग पर रखकर पावर बटन दबाने से प्रिंटर स्लीप मोड से बाहर आ जाता है। |
|
|
डेटा लाइट जब प्रिंटर, डेटा संसाधित करता है तब यह फ़्लैश करता है और जब संसाधित किए जाने की प्रतीक्षा कर रहे कार्य हों तो यह चालू होता है। |
|
|
त्रुटि लाइट कोई गड़बड़ी आने पर यह चालू होता है या फ़्लैश करता है। स्क्रीन पर कोई त्रुटि प्रदर्शित करता है। |
|
|
फ़ैक्स प्राप्त होने का लाइट ऐसे दस्तावेज़ प्राप्त होने पर, जिन्हें अभी तक संसाधित नहीं किया गया है, यह चालू होता है। |
आप कंट्रोल पैनल को झुका सकते हैं।
