
|
No. |
Item Opsional |
Gambaran Umum |
|---|---|---|
|
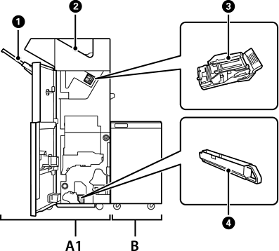
A1 |
Staple Finisher |
Mengurutkan dan menstaple kertas sebelum mengeluarkannya. Melubangi kertas menggunakan unit pelubang kertas opsional. |
|
B |
Finisher Bridge Unit |
Agar dapat mengoperasikan staple finisher atau booklet finisher, Anda harus memasang finisher bridge unit. |
|
|
Baki Finisher |
Menyimpan dokumen yang disortir atau distaple. |
|
|
Baki keluaran |
Utamanya menyimpan faks yang diterima. |
|
|
Staple Cartridge |
Untuk jahitan datar. |
|
|
Baki Serpihan Lubang |
Menampung serpihan lubang kertas. |