
|
|
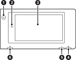
Tombol daya Lampu daya |
|
|
Tombol Beranda Mengembalikan Anda ke layar beranda. |
|
|
Layar sentuh Menampilkan item pengaturan dan pesan. Jika tidak dioperasikan selama jangka waktu tertentu, printer akan masuk ke mode tidur dan layar akan mati. Sentuh sembarang titik di layar sentuh untuk mengaktifkan layar. Tergantung pada pengaturan yang diterapkan saat ini, printer akan aktif dari mode tidur saat tombol daya ditekan. |
|
|
Lampu data Berkedip ketika printer memproses data, dan menyala ketika ada pekerjaan yang menunggu diproses. |
|
|
Lampu kesalahan Menyala atau berkedip ketika terjadi kesalahan. Menampilkan kesalahan di layar. |
|
|
Lampu penerimaan faks Menyala ketika dokumen masuk belum diproses. |
Anda dapat memiringkan panel kontrol.
