
|
|
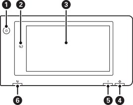
Buton alimentare Indicator alimentare |
|
|
Buton Acasă Permite revenirea la ecranul inițial. |
|
|
Ecran tactil Afișează elementele și mesajele de setare. Când nu sunt efectuate operații într-un anumit interval de timp, imprimanta intră în modul inactiv și afișajul se stinge. Atingeți orice porțiune a ecranului tactil pentru a activa afișajul. În funcție de setările curent, apăsarea butonului de alimentare activează imprimanta din modul de repaus. |
|
|
Indicator luminos de date Luminează intermitent când imprimanta procesează date, respectiv continuu când există sarcini în așteptarea procesării. |
|
|
Indicator luminos de eroare Luminează continuu sau intermitent la apariția unei erori. Afișează orice erori pe ecran. |
|
|
Indicator luminos de recepție fax Luminează la primirea de documente care nu au fost încă procesate. |
Panoul de comandă poate fi înclinat.
