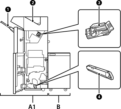
> Använda tillvalsobjekt > Staplare (Staple Finisher) > Namn på häftapparatens delar

Namn på häftapparatens delar

Nr.

Tillvalsobjekt

Översikt

A1

Staple Finisher

Sorterar och häftar papper innan den matar ut det. Stansar hål med den tillvalda hålstansenheten.

B

Finisher Bridge Unit

För att använda häftapparaten eller häftesefterbehandlaren måste du installera efterbehandlarenheten.

Efterbehandlarfack

Håller sorterade eller staplade dokument.

Utmatningsfack

Lagrar huvudsakligen mottagna fax.

Häftkassett

För platt häftning.

Spillfack för hålslagare

Samla upp skräp från hålslagaren.