Tikish yakunlagichi qism nomlari

No.

Ixtiyoriy element

Ko‘zdan kechirish

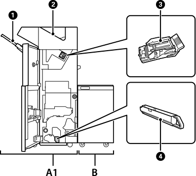
A1

Staple Finisher

Qog‘ozlarni chiqarishdan avval ularni tartiblaydi va tikadi. Alohida xarid qilinadigan teshik teshish qurilmasidan foydalanib teshiklar teshadi.

B

Finisher Bridge Unit

Tikish yakunlagichi yoki buklet yakunlagichini ishlatish uchun yakunlagich ko‘prigi blokini o‘rnatishingiz kerak.

Yakunlagich lotogi

Tartiblangan yoki taxlangan hujjatlarni ushlab turadi.

Chiqqan hujjat tortmasi

Asosan olingan fakslarni saqlaydi.

Tikish kartridji

Tekis tikish uchun.

Teshik teshish chiqindilari lotogi

Teshikdan chiqqan qoldiqlarni to‘playdi.