> Problemlərin həlli > Mürəkkəb Kartriclərini Dəyişdirmək Vaxtıdır > Mürəkkəb kartricinin istifadəsi üzrə xəbərdarlıqlar

Mürəkkəb kartricinin istifadəsi üzrə xəbərdarlıqlar

Mürəkkəb kartriclərini dəyişməzdən əvvəl aşağıdakı təlimatları oxuyun.

İstifadə üzrə xəbərdarlıqlar
  • Mürəkkəb kartriclərini normal otaq temperaturunda saxlayın və birbaşa günəş şüalarından qoruyun.

  • Epson mürəkkəb kartricini paketin üzərində yazılan tarixədək istifadə etməyi tövsiyə edir.

  • Ən yaxşı nəticələri əldə etmək üçün mürəkkəb kartrici paketlərini dik saxlayın.

  • Mürəkkəb kartricini soyuq saxlama yerindən içəri gətirdikdə, onu istifadə etməzdən əvvəl otaq temperaturunda ən azı 12 saat isinməsinə imkan verin.

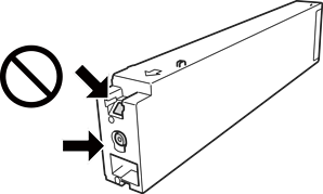
  • Şəkildə göstərilən hissələrə toxunmayın. Yoxsa, normal işləmə və çap mümkün olmaya bilər.

  • Bütün mürəkkəb kartriclərini quraşdırın; yoxsa çap edə bilməyəcəksiniz.

  • Mürəkkəb dolarkən printeri söndürməyin. Mürəkkəb doldurulması başa çatmadan çap edə bilməyə bilərsiniz.

  • Printeri mürəkkəb kartricləri çıxarılmış vəziyyətdə qoyub getməyin və ya kartrici dəyişən zaman printeri söndürməyin. Əks halda, printer başlığının gözlərində qalan mürəkkəb quruyacaq və çap etmək mümkün olmayacaq.

  • Mürəkkəb kartricini müvəqqəti çıxarmaq istəsəniz, mürəkkəb çıxışı sahəsinə toz yaxud çirk düşməsinə yol verməyin. Kartrici printerlə eyni mühitdə, mürəkkəb çıxışı sahəsi üzü yanlara dayanmış vəziyyətdə saxlayın. Mürəkkəb çıxışı sahəsi xüsusi klapanla təchiz edilmişdir, bu klapan artıq mürəkkəbin buraxılmasına imkan vermir, məhz buna görə, əlavə örtük və ya tıxac qoymağa ehtiyac yoxdur.

  • Çıxarılan mürəkkəb kartriclərinin mürəkkəb çıxışı sahəsinin kənarlarında mürəkkəb ola bilər, buna görə də, kartricləri çıxararkən bu mürəkkəbin ətrafa bulaşmamasına diqqət yetirin.

  • Bu printer hər kartricdə qalan mürəkkəb miqdarı kimi məlumatlara nəzarət edən yaşıl çiplə təchiz edilmiş kartriclər istifadə edir. Yəni, kartric tam istifadə olunmadan printerdən çıxarılsa belə, onu printerə yenidən daxil edərək istifadə edə bilərsiniz.

  • Ən yüksək səviyyədə çap keyfiyyəti əldə etməniz və printer başlığını qorumaq üçün printer kartricin dəyişdirilməsini göstərdikdə, kartricdə müxtəlif miqdarda mürəkkəb təhlükəsizlik ehtiyatı saxlanılır. Sizin üçün təyin edilmiş məhsula bu ehtiyat daxil deyil.

  • Kartriclər dövr edilmiş materiallar ehtiva edə bilər, lakin bu, printerin funksiyasına və ya məhsuldarlığına təsir göstərmir.

  • Kartricin spesifikasiyaları və görünüşü təkmilləşdirmə barədə əvvəlcədən xəbərdarlıq etmədən dəyişdirilə bilər.

  • Kartrici sökməyin və ya modelini dəyişməyin, yoxsa normal çap etmək mümkün olmaya bilər.

  • Təyin edilmiş məhsul çap etdiyiniz şəkillərdən, istifadə etdiyiniz kağız növündən, çap etmə tezliyindən və temperatur kimi ətraf mühit şəraitindən asılı olaraq dəyişə bilər.

  • Onu yerə salmayın və ya bərk bir yerə vurmayın; yoxsa, mürəkkəb sıza bilər.

Mürəkkəb sərfiyyatı
  • Printer başlığının optimal fəaliyyəti üçün təkcə çap zamanı deyil, eləcə də, printer başlığının təmizlənməsi kimi texniki dəstək əməliyyatlarında da bütün kartriclərdən müəyyən qədər mürəkkəb sərf oluna bilər.

  • Printerin üzərində verilən kartriclərdəki mürəkkəb ilkin quraşdırma zamanı qismən istifadə olunur. Yüksək keyfiyyətli məhsul çap etmək üçün printer başlığı tam şəkildə mürəkkəblə doldurulacaq. Bu bir dəfəlik proses bir qədər mürəkkəb işlətdiyinə görə, növbəti kartriclərdən fərqli olaraq bu kartriclərlə az sayda səhifə çap etmək mümkündür.