Прочетете следните инструкции, преди да предприемете подмяна на касетите.
Съхранявайте касетите за мастило при стайна температура и не ги дръжте изложени на пряка слънчева светлина.
Epson препоръчва да използвате касетата за мастило преди датата, отпечатана върху нейната опаковка.
За най-добри резултати съхранявайте пакетите на касетите с мастило с долната част надолу.
След като внесете касета за мастило от студено място за съхранение, преди да я използвате, я оставете да престои и да се затопли до стайна температура за най-малко 12 часа.
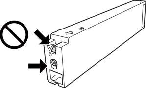
Не докосвайте областите, показани на илюстрацията. Това би попречило на нормалната работа и отпечатването.

Поставете всички касети за мастило; в противен случай не можете да печатате.
Не изключвайте принтера по време на зареждане с мастило. Ако зареждането с мастило е непълно, може да не успеете да отпечатате.
Не оставяйте принтера с извадени касети с мастило и не изключвайте принтера по време на смяна на касетата. В противен случай останалото в дюзите на печатащата глава мастило може да изсъхне и да не успеете да отпечатате.
Ако трябва да извадите касета с мастило временно, непременно защитете областта на подаване на мастилото от замърсяване и прах. Съхранявайте касетата с мастило в същата среда, както принтера, с отвора за подаване на мастило насочен настрани. Тъй като отворът за подаване на мастило е оборудван с клапа, предназначена да спира освобождаването на излишно мастило, не са необходими собствени капачета или тапи.
Извадените касети може да съдържат мастило около отвора за подаване, затова при изваждане на касетите внимавайте да не допуснете попадането му в околната среда.
Този принтер използва касети с мастило, оборудвани със зелен чип, който следи информация като оставащо количество мастило за всяка касета. Това означава, че дори ако касетата е отстранена от принтера, преди да е изразходена, все още можете да я използвате, след като я поставите отново в принтера.
За да се гарантира изключителното качество при разпечатване, както и предпазването на печатащата глава, когато Вашият принтер покаже индикация, че касетата е за смяна, в нея остава известно количество резервно мастило. Посоченият капацитет не включва този резерв.
Въпреки че касетите за мастило могат да съдържат рециклирани материали, това не оказва влияние върху функционалността или работата на принтера.
Спецификациите и външният вид на касетата с мастило са обект на промяна без предварително известие за подобрение.
Не разглобявайте и не променяйте касетата за мастило, защото това може да възпрепятства нормалното печатане с нея.
Посоченият брой разпечатки може да варира в зависимост от изображенията, които печатате, типа на използваната хартия, честота на печатане и условията на околната среда, например температурата.
Не я изпускайте и не я удряйте в твърди предмети. В противен случай мастилото може да протече.
За да се поддържа оптимална работата на печатащата глава, от всички касети се консумира известно количество мастило не само по време на печат, но и по време на дейности по поддръжка, например почистване на печатащата глава.
Мастилото в касетите, предоставени с Вашия принтер, се изразходва частично по време на първоначалната настройка. За да се постигнат разпечатки с високо качество, печатащата глава в принтера трябва да бъде напълно заредена с мастило. Този еднократен процес изразходва известно количество мастило и затова е възможно тези касети да отпечатат по-малко на брой страници в сравнение със следващите такива.