Наименования на частите на телбода

Допълнителен елемент

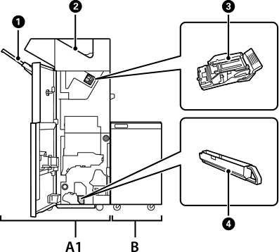
Общ преглед

A1

Staple Finisher

Сортира и закрепва с телбод хартията преди да я изхвърли. Пробива отвори с помощта на допълнително устройство за перфориране на отвори.

B

Finisher Bridge Unit

За да работите с телбода или устройството за брошури, трябва да инсталирате мостовия модул на устройството.

Тава на устройството

Задържа сортирани или захванати с телбод документи.

Изходна тава

Основно за съхранение на получени факсове.

Касета за телчета

За странично закрепване.

Тава за отпадък при перфориране

Събира отпадъка от перфорираните отвори.