Lesen Sie die folgenden Anweisungen vor dem Austausch der Tintenpatronen sorgfältig durch.
Lagern Sie Tintenpatronen bei normaler Zimmertemperatur und halten Sie sie von direkter Sonneneinstrahlung fern.
Es wird empfohlen, die Tintenpatrone vor dem auf der Verpackung angegebenen Datum zu verwenden.
Lagern Sie Tintenpatronen zum Erzielen der besten Druckergebnisse so, dass die Unterseite nach unten zeigt.
Wenn Sie eine Tintenpatrone verwenden wollen, die Sie zuvor an einem kälteren Ort gelagert haben, lassen Sie sie sich vor der Verwendung mindestens 12 Stunden lang auf Raumtemperatur erwärmen.
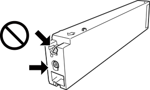
Die in der Abbildung gezeigten Bereiche nicht berühren. Andernfalls kann die normale Funktionsweise und Druckfähigkeit beeinträchtigt werden.

Installieren Sie alle Tintenpatronen; andernfalls ist das Drucken nicht möglich.
Schalten Sie den Drucker während des Tintenladevorgangs nicht aus. Wenn der Tintenladevorgang nicht abgeschlossen wird, können Sie u. U. nicht drucken.
Lassen Sie den Drucker nicht mit entfernten Tintenpatronen stehen und schalten Sie den Drucker während des Austauschs nicht aus. Andernfalls kann die in den Druckkopfdüsen verbleibende Tinte austrocknen und das Drucken verhindern.
Wenn Sie eine Tintenpatrone vorübergehend herausnehmen müssen, stellen Sie sicher, dass der Tintenzufuhrbereich vor Schmutz und Staub geschützt ist. Bewahren Sie die Tintenpatrone in derselben Umgebung wie den Drucker auf, wobei die Tintenzufuhröffnung zur Seite zeigen sollte. Da sich in der Tintenzufuhröffnung ein Ventil befindet, über das die Abgabe von übermäßiger Tinte verhindert wird, müssen Sie keine eigenen Abdeckungen oder Stopfen verwenden.
Um die Tintenzufuhröffnung entnommener Tintenpatronen befindet sich möglicherweise Tinte. Achten Sie deshalb beim Entnehmen der Tintenpatrone darauf, dass keine Gegenstände in der Umgebung durch die Tinte verschmutzt werden.
Dieser Drucker nutzt Tintenpatronen, die mit einem grünen Chip ausgestattet sind. Dieser Chip überwacht Informationen, wie z. B. die verbleibende Tintenmenge für jede Tintenpatrone. Das bedeutet, dass Sie eine Tintenpatrone, die aus dem Drucker herausgenommen wurde, bevor sie leer war, weiterhin nutzen können, wenn Sie sie wieder in den Drucker einsetzen.
Um eine erstklassige Druckqualität zu gewährleisten und den Druckkopf zu schonen, ist noch eine Sicherheitsreserve an Tinte in der Patrone enthalten, wenn der Drucker anzeigt, dass die Patrone ausgetauscht werden muss. Beim Anzeigen der verbleibenden Nutzungsdauer wird diese Reserve nicht berücksichtigt.
Die Tintenpatronen enthalten möglicherweise wiederverwertete Materialien, die jedoch die Funktion oder Leistung des Druckers nicht beeinträchtigen.
Die Spezifikationen und das Aussehen von Tintenpatronen können sich im Zuge der Produktverbesserung ohne vorherige Benachrichtigung geändert werden.
Nehmen Sie keine Veränderungen an der Tintenpatrone vor, denn dies kann ggf. dazu führen, dass Sie nicht mehr normal drucken können.
Die Nutzungsdauer einer Patrone hängt von den gedruckten Bildern, dem verwendeten Papiertyp, der Druckhäufigkeit und Umgebungsbedingungen wie der Temperatur ab.
Lassen Sie die Tintenpatrone nicht fallen und stoßen Sie sie nicht gegen harte Objekte. Andernfalls tritt möglicherweise Tinte aus.
Zum Erhalt der optimalen Druckkopfleistung wird von allen Patronen etwas Tinte verbraucht, nicht nur während des Druckens, sondern auch bei Wartungsvorgängen wie der Druckkopfreinigung.
Die Tinte in den mit dem Drucker gelieferten Tintenpatronen wird bei der ersten Inbetriebnahme teilweise aufgebraucht. Um qualitativ hochwertige Ausdrucke zu produzieren, wird der Druckkopf im Drucker vollständig mit Tinte geladen. Dieser Vorgang verbraucht eine entsprechende Menge an Tinte. Aus diesem Grund drucken diese Patronen im Vergleich zu den folgenden Tintenpatronen ggf. weniger Seiten.