
|
Αρ. |
Προαιρετικό στοιχείο |
Επισκόπηση |
|---|---|---|
|
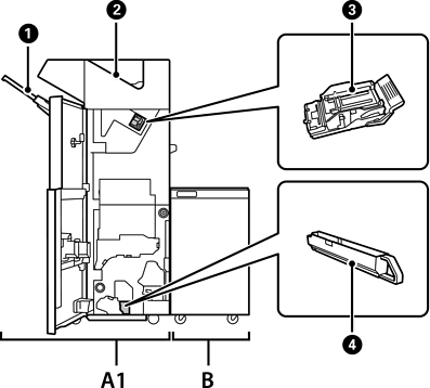
A1 |
Staple Finisher |
Εκτελεί ταξινόμηση και συρραφή του χαρτιού πριν την εξαγωγή του. Εκτελεί διάτρηση οπών με την προαιρετική μονάδα διάτρησης οπών. |
|
B |
Finisher Bridge Unit |
Για να λειτουργήσετε τη μονάδα τελικής επεξεργασίας συρραφής ή φυλλαδίου χρειάζεται να εγκαταστήσετε τη μονάδα γέφυρας τελικής επεξεργασίας. |
|
|
Δίσκος μονάδας τελικής επεξεργασίας |
Συγκρατεί ταξινομημένα ή συρραμμένα έγγραφα. |
|
|
Δίσκος εξόδου |
Κυρίως αποθηκεύει ληφθέντα φαξ. |
|
|
Κασέτα συρραφής |
Για επίπεδη συρραφή. |
|
|
Δίσκος απορριμμάτων διάτρησης |
Συλλέγει τα απορρίμματα διάτρησης οπών. |