Lea las instrucciones siguientes antes de sustituir los cartuchos de tinta.
Guarde los cartuchos de tinta a temperatura ambiente normal y protéjalos de la luz directa del sol.
Epson no recomienda el uso del cartucho de tinta después de la fecha de caducidad indicada en el paquete.
Para obtener unos resultados óptimos, guarde los paquetes de cartuchos de tinta con la parte inferior hacia abajo.
Si ha sacado el cartucho de tinta de un lugar de almacenamiento frío, espere al menos 12 horas para que alcance la temperatura ambiente antes de usarlo.
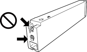
No toque las partes indicadas en la ilustración. Podría impedir el funcionamiento e impresión normales.

Instale todos los cartuchos de tinta; de lo contrario, no podrá imprimir.
No apague la impresora durante la carga de tinta. Si la carga de tinta no ha finalizado, no se puede imprimir.
No deje la impresora con los cartuchos de tinta sacados ni apague la impresora durante la sustitución de los cartuchos. De lo contrario, la tinta que queda en los inyectores del cabezal de impresión se secará y es posible que no pueda imprimir.
Si tiene que extraer un cartucho de tinta temporalmente, proteja la zona de suministro de tinta contra la suciedad y el polvo. Guarde el cartucho de tinta en el mismo entorno que la impresora, con el puerto de suministro de tinta orientado hacia un lado. Como el puerto de suministro de tinta lleva incorporada una válvula diseñada para contener el exceso de tinta, no es necesario que utilice sus propias tapas ni enchufes.
Tenga cuidado de no tocar alrededor del orificio de suministro de tinta cuando saque los cartuchos; podría mancharse porque a veces queda algo de tinta.
Esta impresora utiliza cartuchos de tinta que llevan incorporado un chip verde para supervisar información como la cantidad de tinta que queda en cada cartucho. Esto significa que, si retira el cartucho de la impresora antes de que se agote, puede seguir utilizándolo si lo vuelve a introducir en la impresora.
Para garantizar la mejor calidad de impresión y proteger el cabezal, el cartucho cuenta con una reserva de tinta variable cuando la impresora avisa para cambiarlo. El rendimiento que se menciona no incluye esta reserva.
Aunque los cartuchos de tinta puedan contener material reciclado, no afecta al funcionamiento ni al rendimiento de la impresora.
Las especificaciones y el aspecto del cartucho de tinta están sujetos a cambio sin aviso previo para su mejora.
No desmonte ni transforme el cartucho de tinta, ya que podría estropear la impresión.
Las siguientes cifras son variables, dependen de las imágenes que se impriman, del tipo de papel, de la frecuencia de las impresiones y de las condiciones ambientales tales como la temperatura.
No lo deje caer o golpee contra objetos duros; de lo contrario, podría derramarse tinta.
Para garantizar el rendimiento óptimo del cabezal de impresión, se consume algo de tinta de todos los cartuchos no solo durante la impresión, sino también durante labores de mantenimiento como la limpieza del cabezal de impresión.
Durante la configuración inicial, se utiliza parte de la tinta de los cartuchos suministrados junto con la impresora. A fin de producir impresiones de alta calidad, el cabezal de impresión de la impresora se carga completamente de tinta. Este proceso consume cierta tinta, por lo que estos cartuchos podrían imprimir menos páginas que los cartuchos de tinta que instale posteriormente.