Lisez les instructions suivantes avant de procéder au remplacement des cartouches d'encre.
Conservez les cartouches d’encre à une température ambiante normale et à l’abri de la lumière directe du soleil.
Epson vous recommande d’utiliser la cartouche d’encre avant la date indiquée sur l’emballage.
Pour obtenir des résultats optimaux, stockez les emballages de cartouches d’encre avec la base en bas.
Lorsque vous apportez à l'intérieur d'un local une cartouche d'encre précédemment stockée dans un endroit froid, laissez-la se conditionner à la température de la pièce pendant 12 heures au moins avant de l'utiliser.
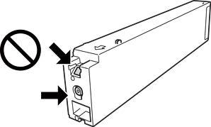
Ne touchez pas aux parties indiquées sur l’illustration. Cela pourrait perturber le fonctionnement normal et l’impression.

Installez toutes les cartouches d’encre, sinon vous ne pourrez pas imprimer.
Ne mettez pas l’imprimante hors tension pendant le chargement de l’encre. Si le chargement de l’encre est incomplet, vous risquez de ne pas pouvoir imprimer.
Ne laissez pas l’imprimante sans cartouches d’encre installées ou n’éteignez pas l’imprimante pendant le remplacement d’une cartouche. L’encre restante dans les buses de la tête d’impression sèchera et vous ne pourrez plus imprimer.
Si vous avez besoin de retirer temporairement une cartouche d'encre, veillez à protéger la zone d'alimentation de l'encre contre les saletés et les poussières. Stockez la cartouche d'encre dans le même environnement que l'imprimante, en orientant le port d'alimentation de l'encre vers le côté. Le port d'alimentation en encre est équipé d'une valve conçue pour recueillir les résidus d'encre. Vous n'avez donc pas besoin de fournir vos propres capuchons ou bouchons.
Les cartouches d’encre retirées peuvent être maculées d’encre autour de l’orifice d’alimentation en encre. Veillez donc à ne pas mettre d’encre sur la zone qui l’entoure pendant le remplacement des cartouches.
Cette imprimante utilise des cartouches d'encre équipées d'une puce verte qui surveille les informations telles que le niveau d'encre restant pour chaque cartouche. Cela signifie que même si la cartouche est retirée de l'imprimante avant d'être épuisée, vous pouvez continuer d'utiliser la cartouche après l'avoir réinsérée dans l'imprimante.
Afin d’obtenir une qualité d’impression optimale et de protéger la tête d’impression, il reste encore une quantité variable d’encre dans la cartouche lorsque l’imprimante indique qu’il est temps de la remplacer. Les rendements estimés excluent cette réserve.
Les cartouches d’encre peuvent contenir des matériaux recyclés. Cela n’affecte cependant pas le fonctionnement ou les performances de l’imprimante.
Les spécifications et l’apparence de la cartouche d’encre peuvent être modifiées sans notification préalable à des fins d’amélioration.
Ne démontez pas ou ne modifiez pas la cartouche d’encre, faute de quoi l’impression risque de ne pas fonctionner normalement.
Les rendements indiqués peuvent varier en fonction des images imprimées, du type de papier utilisé, de la fréquence des impressions et des conditions environnementales, telles que la température.
Ne la laissez pas tomber ou ne la cognez pas contre des objets durs, car cela risquerait de provoquer une fuite.
Pour garantir les performances optimales des têtes d’impression, une certaine quantité d’encre provenant de toutes les cartouches est consommée pendant l’impression et les opérations de maintenance, notamment lors du nettoyage de la tête d’impression.
L’encre des cartouches fournies avec l’imprimante est partiellement utilisée lors de la configuration initiale. Afin de produire des impressions de haute qualité, la tête d’impression est chargée d’encre. Ce processus unique consomme une certaine quantité d’encre. Par conséquent, il se peut que ces cartouches impriment moins de pages par rapport aux cartouches d’encres suivantes.