לפני החלפת מחסניות דיו קרא את ההוראות להלן.
אחסן מחסניות דיו בטמפרטורת חדר רגילה והרחק אותן מאור שמש ישיר.
Epson ממליצה להשתמש במחסנית הדיו לפני התאריך המודפס על גבי האריזה.
לקבלת תוצאות מיטביות יש לאחסן את האריזות של מחסניות הדיו כשהתחתית שלהן פונה למטה.
לאחר שמביאים מחסנית דיו מאחסון במקרר יש לאפשר לה להתחמם בטמפרטורת החדר למשך 12 שעות לפחות לפני השימוש בה.
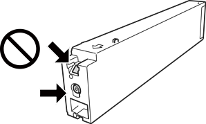
אל תיגע בשטחים המופיעים באיור. אם תעשה זאת יתכן שהדבר ימנע הדפסה ופעולה רגילה.

התקן את כל מחסניות הדיו; אחרת לא תוכל להדפיס.
אל תכבה את המדפסת בשעה שהיא טוענת דיו. אם טעינת הדיו לא הושלמה יתכן שלא תוכל להדפיס.
אל תשאיר את המדפסת ללא מחסניות דיו או אל תכבה את המדפסת במהלך החלפת מחסנית דיו. אחרת, הדיו הנותר בנחירי ראש ההדפסה יתייבש ואפשר שלא יהיה ביכולתך להדפיס.
אם יש צורך להסיר את מחסנית הדיו באופן זמני יש לוודא ששטח אספקת הדיו מוגן מלכלוך ומאבק. אחסן את מחסנית הדיו באותה הסביבה כמו של המדפסת, כשפתח אספקת הדיו פונה הצידה. כיוון שיציאת אספקת הדיו מכילה שסתום לשליטה בשחרור הדיו אין צורך להשתמש במכסים או פקקים משלך.
מחסניות דיו שמסירים אותן יכולות להימרח בדיו סביב פתח אספקת הדיו ולכן יש להקפיד לא למרוח דיו על השטח הסובב אותן בעת ההסרה.
מדפסת זאת משתמשת במחסניות דיו המצוידות בשבב ירוק המשגיח על מידע כגון כמות הדיו הנותרת בכל מחסנית. פירושו של דבר הוא שאפילו אם מסירים את המחסנית מהמדפסת לפני שהיא מנוצלת לגמרי עדיין אפשר להשתמש במחסנית אחרי שמכניסים אותה חזרה למדפסת.
כדי להבטיח קבלת איכות הדפסה מעולה וכדי לעזור לשמור על ראש ההדפסה יש רזרבה משתנה של דיו הנשארת במחסנית לשם הבטיחות כאשר המדפסת מציינת שיש להחליף את המחסנית. התפוקה המצוינת אינה כוללת את הרזרבה הזו.
אמנם יתכן שהמחסניות מכילות חומרים ממוחזרים אולם עובדה זאת אינה משפיעה על תפקוד המדפסת ועל ביצועיה.
המפרט והמראה של מחסנית הדיו יכולים להשתנות ללא הודעה מראש, לשם שיפור.
אסור לפרק את מחסנית הדיו או לשפץ אותה אחרת יתכן שלא תוכל להדפיס כרגיל.
התפוקות שצוינו יכולות להשתנות, תלוי בתמונות שמדפיסים, בסוג הנייר שמשתמשים בו, בתדירות ההדפסות ובתנאי סביבה כגון טמפרטורה.
אל תפיל אותה ואל תדפוק עליה כנגד חפצים קשים; אחרת, הדיו עלולה לנזול.
כדי לשמור שביצועי ראש ההדפסה יהיו מיטביים המדפסת צורכת כמות דיו מסוימת מכל המחסניות, לא רק בשעת ההדפסה אלא גם בשעת פעולות תחזוקה כגון ניקוי ראש.
הדיו במחסניות הדיו שסופקו עם המדפסת נצרכת חלקית במהלך ההקמה הראשונית של המדפסת. כדי לשמור על הדפסות איכותיות ראש ההדפסה שבמדפסת ייטען בדיו במלואו. תהליך חד-פעמי זה צורך כמות מסוימת של דיו ולכן יתכן שהמחסניות הללו ידפיסו פחות עמודים בהשוואה למחסניות דיו אחרות.