
|
नंबर |
वैकल्पिक आइटम |
ओवरव्यू |
|---|---|---|
|
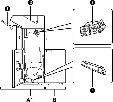
A1 |
Staple Finisher |
पेपर इजेक्ट होने के पहले उसे सॉर्ट और स्टेपल करता है। वैकल्पिक छिद्र पंच इकाई का उपयोग करके छिद्र करती है। |
|
B |
Finisher Bridge Unit |
स्टेपल फ़िनिशर या बुकलेट फ़िनिशर को संचालित करने के लिए आपको फ़िनिशर ब्रिज यूनिट इंस्टॉल करने की ज़रूरत होती है। |
|
|
फ़िनिशर ट्रे |
सॉर्ट किए गए या स्टेपल किए गए दस्तावेज़ों को होल्ड करता है। |
|
|
आउटपुट ट्रे |
मुख्य रूप से, प्राप्त फ़ैक्स संग्रह करता है। |
|
|
स्टेपल कार्ट्रिज |
फ़्लैट स्टिचिंग के लिए। |
|
|
वेस्ट ट्रे, पंच करें |
पंच छिद्र स्क्रैप एकत्रित करता है। |