
|
|
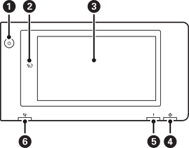
Gumb za napajanje Lampica za napajanje |
|
|
Gumb početnog zaslona Vraća vas na početni zaslon. |
|
|
Dodirni zaslon Prikazuje stavke postavki i poruke. Kad se kroz određeno vremensko razdoblje ne obavljaju radnje, pisač ulazi u stanje mirovanja i zaslon se gasi. Dodirnite bilo gdje na zaslonu kako biste ga uključili. Ovisno o trenutačnim postavkama, pritiskanje gumba za napajanje aktivira pisač iz modusa mirovanja. |
|
|
Lampica obrade podataka Treperi kada pisač obrađuje podatke i svijetli kada postoje zadaci koji čekaju obradu. |
|
|
Lampica greške Svijetli ili treperi kada dođe do pogreške. Prikazuje sve greške na zaslonu. |
|
|
Lampica primanja faksa Uključuje se prilikom zaprimanja dokumenata koji još nisu obrađeni. |
Upravljačku ploču možete nagnuti.
