Olvassa el az alábbi útmutatót mielőtt a tintapatronok cseréjébe kezd.
A tintapatronokat normál szobahőmérsékleten, közvetlen napfénytől óvva tárolja.
Az Epson azt ajánlja, hogy a tintapatront a csomagolásán feltüntetett lejárati idő előtt használja fel.
Az a legjobb, ha a tintapatron csomagokat aljukkal lefelé tárolja.
Ha hideg tárolóhelyről hozza be a tintapatront, felhasználás előtt hagyja szobahőmérsékletre melegedni legalább 12 órán át.
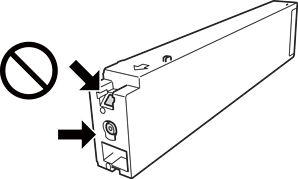
Ne érjen az ábrán jelzett részekhez. Ellenkező esetben problémák jelentkezhetnek nyomtatáskor.

Helyezzen be minden patront; ellenkező esetben nem lehet nyomtatni.
Tintafeltöltés közben ne kapcsolja ki a nyomtatót. Ha a tintafeltöltés még nem fejeződött be, akkor lehet, hogy nem fog tudni nyomtatni.
A nyomtatót nem szabad úgy hagyni, hogy a tintapatronok nincsenek a nyomtatóban, valamint a nyomtatót nem szabad kikapcsolni a patroncsere közben. Máskülönben a nyomtatófej fúvókáiban maradó festék beszárad, és előfordulhat, hogy Ön nem fog bírni majd nyomtatni.
Ha ideiglenesen el kell távolítania egy tintapatront, ügyeljen arra, hogy a tintaadagoló területet ne érje por és szennyeződés. A tintapatronokat ugyanolyan környezeti körülmények között tárolja, mint a nyomtatót, a tintaadagoló port pedig oldalra nézzen. Mivel a tintaadagoló portot elláttuk egy olyan szeleppel, amely begyűjti az esetlegesen kifolyt festéket, így nem kell külön fedelet vagy dugót alkalmaznia.
Az eltávolított tintapatronok tintaátömlő nyílása körül tinta lehet. A patron eltávolításakor vigyázzon, hogy ne kerüljön tinta a környezetre.
A nyomtató olyan tintapatronokat használ, melyeken található egy zöld chip, ami az olyan információkat figyeli, mint pl. az egyes patronokban hátralévő tinta mennyisége. Ez azt jelenti, hogy még ha a kifogyás előtt távolítják is el a patront a nyomtatóból, később visszateheti a patront a nyomtatóba és ugyanúgy használhatja.
A kiváló nyomtatási minőség és a nyomtatófej megóvása érdekében egy kis tinta marad a patronban, amikor a nyomtató jelzi, hogy ki kell cserélni a patront. Az említett hozamok nem tartalmazzák ezt a tartalék mennyiséget.
A nyomtató funkcionalitását és teljesítményét nem befolyásolja az a tény, hogy a tintapatronok újrahasznosított alkotóelemeket is tartalmazhatnak.
A tintapatronok műszaki adatai és kinézete előzetes bejelentés nélkül is változhat a termékfejlesztés eredményeképpen.
Ne szerelje szét vagy állítsa össze újra a tintapatront, különben nem lesz képes a normális nyomtatásra.
A kinyomtatható lapok száma függ a nyomtatandó képektől, a használt papírtípustól, a nyomtatás gyakoriságától és a környezeti feltételektől, például a hőmérséklettől.
Ne dobja vagy üsse kemény tárgyhoz, mert a tinta kiszivároghat.
A nyomtatófej optimális működése érdekében a készülék nem csak nyomtatás közben használ tintát néhány patronból, hanem a karbantartási műveletek, például a tintapatronok cseréje és a nyomtatófej-tisztítás során is.
A nyomtatóhoz mellékelt tintapatronokban lévő tinta egy részét a nyomtató felhasználja az első üzembe helyezéskor. A magas minőségű nyomatok készítése érdekében a nyomtatófej teljesen feltöltésre kerül tintával a nyomtatóban. Ehhez az egyszeri művelethez jelentős mennyiségű tinta szükséges, ezért előfordulhat, hogy ezekkel a patronokkal kevesebb oldalt tud kinyomtatni, mint a következőkkel.