
|
Sz. |
Opcionális elem |
Áttekintés |
|---|---|---|
|
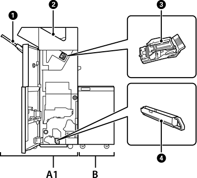
A1 |
Staple Finisher |
A nyomtatóból való kilökés előtt összerendezi és összefűzi a papírt. Kilyukasztja a papírt a külön kapható lyukasztó egység segítségével. |
|
B |
Finisher Bridge Unit |
Az összefűző egység vagy a füzetkészítő használatához telepíteni kell a készülék áthidaló egységét. |
|
|
Utófeldolgozási tálca |
A csoportosított vagy összetűzött dokumentumokat tárolja. |
|
|
Kimeneti tálca |
Főként a fogadott faxokat tárolja. |
|
|
Összefűzés-kazetta |
Lapos összefűzéshez. |
|
|
Lyukasztási hulladékgyűjtő tálca |
A lyukasztó által kilyukasztott papírt gyűjti össze. |