
|
|
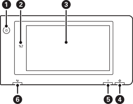
Főkapcsoló gomb A bekapcsolási állapotot jelző lámpa |
|
|
Kezdőlap gomb Visszalépteti a kezdőképernyőre. |
|
|
Érintőképernyő Itt láthatók a beállítási menüpontok és az üzenetek. Ha bizonyos ideig nem végeznek műveletet az érintőképernyőn, a nyomtató alvó üzemmódba lép, és a kijelző kikapcsol. A kijelző bekapcsolásához koppintson bárhová az érintőképernyőn. A jelenlegi beállításoktól függően a tápkapcsoló gomb megnyomásával ébressze fel a nyomtatót az alvó üzemmódból. |
|
|
Adatfeldolgozás jelzőfénye Villog, ha a nyomtató éppen adatokat dolgoz fel, és világít, ha feladatok várnak feldolgozásra. |
|
|
Hibajelző fény Világít vagy villog, ha hiba történik. Megjeleníti az esetleges hibákat a képernyőn. |
|
|
Faxfogadás jelzőfénye Akkor világít, ha olyan dokumentumok érkeztek, amelyek még nem kerültek feldolgozásra. |
A kezelőpanel megdönthető.
