Prima di sostituire le cartucce di inchiostro, leggere le istruzioni riportate di seguito.
Conservare le cartucce di inchiostro a temperatura ambiente e non esporle alla luce solare diretta.
Epson consiglia di utilizzare le cartucce di inchiostro entro la data di scadenza indicata sulla confezione.
Per risultati ottimali, conservare le confezioni delle cartucce di inchiostro con la parte inferiore rivolta verso il basso.
In caso di trasferimento della cartuccia di inchiostro da un ambiente di conservazione a bassa temperatura, mantenerla a temperatura ambiente per almeno 12 ore prima di utilizzarla.
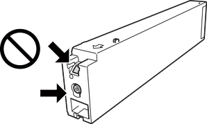
Non toccare le sezioni mostrate in figura. Ciò potrebbe incidere sulle normali operazioni di funzionamento e stampa.

Per poter eseguire la stampa, è necessario installare tutte le cartucce di inchiostro.
Non spegnere la stampante durante il caricamento dell'inchiostro. Se il caricamento dell'inchiostro non viene completato, potrebbe risultare impossibile stampare.
Non lasciare la stampante senza cartucce di inchiostro, né spegnere la stampante durante la sostituzione delle cartucce. In caso contrario, l'inchiostro rimasto negli ugelli della testina potrebbe seccarsi e impedire la stampa.
Se è necessario rimuovere temporaneamente una cartuccia di inchiostro, verificare di proteggere l'area di erogazione dell'inchiostro da polvere e sporco. Conservare le cartucce di inchiostro nello stesso ambiente della stampante, con l'apertura di erogazione dell'inchiostro rivolta di lato. L'apertura di erogazione dell'inchiostro è dotata di una valvola progettata per contenere l'erogazione di inchiostro in eccesso, pertanto non sono necessari coperchi o tappi.
Le cartucce da rimuovere potrebbero presentare inchiostro residuo in corrispondenza dell'apertura di erogazione. Prestare attenzione affinché l'inchiostro non fuoriesca nelle zone circostanti durante la rimozione.
La stampante si serve di cartucce di inchiostro dotate di un chip verde, che consente il monitoraggio di informazioni quali la quantità di inchiostro rimanente in ogni cartuccia. Pertanto, anche se una cartuccia viene rimossa dalla stampante prima che sia esaurita, è possibile continuare a utilizzarla reinserendola nella stampante.
Per garantire una qualità di stampa ottimale e consentire la protezione della testina di stampa, nelle cartucce viene conservata una piccola quantità di inchiostro anche quando la stampante indica che è necessario procedere alla sostituzione. I livelli visualizzati non includono questa riserva.
Sebbene le cartucce di inchiostro possano contenere materiale riciclato, ciò non influisce sulle funzionalità o sulle prestazioni della stampante.
Le specifiche e l'aspetto delle cartucce di inchiostro sono soggetti a modifica a scopo di miglioramento senza preavviso.
Non smontare o modificare le cartucce di inchiostro, poiché ciò potrebbe impedire le normali operazioni di stampa.
I rendimenti stimati possono variare in base alle immagini stampate, al tipo di carta utilizzato, alla frequenza di stampa e a condizioni ambientali quali la temperatura.
Non farle cadere né farle sbattere contro oggetti duri, onde evitare fuoriuscite di inchiostro.
Per garantire prestazioni ottimali della testina di stampa, l'inchiostro delle cartucce viene consumato non solo durante la stampa, ma anche durante operazioni di manutenzione quali la pulizia della testina.
Le cartucce di inchiostro fornite con la stampante vengono utilizzate parzialmente durante la configurazione iniziale. Per produrre stampe di elevata qualità, la testina di stampa della stampante sarà completamente piena di inchiostro. Tale processo, eseguito una sola volta, consuma una determinata quantità di inchiostro, pertanto tali cartucce potrebbero stampare un numero inferiore di pagine rispetto alle cartucce utilizzate successivamente.