> 옵션 아이템 사용하기 > 스테이플 피니셔 > 스테이플 피니셔 부품 이름

스테이플 피니셔 부품 이름

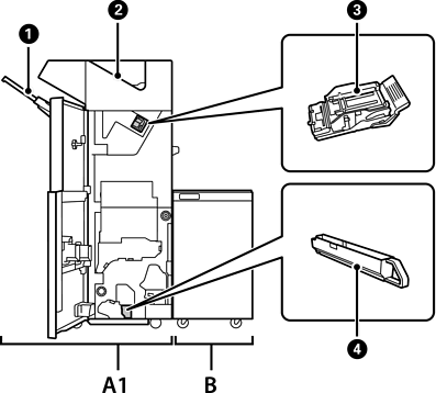
번호

옵션 아이템

개요

A1

스테이플 피니셔

용지를 배출하기 전에 정렬하고 스테이플로 고정합니다. 옵션 홀 펀치 유닛을 사용하여 펀치 구멍을 냅니다.

B

피니셔 브리지 유닛

스테이플 피니셔 또는 소책자 피니셔를 작동하려면 피니셔 브리지 유닛을 설치해야 합니다.

피니셔 트레이

정렬 또는 스테이플 처리된 문서를 보관합니다.

배출 트레이

주로 수신된 팩스를 저장합니다.

스테이플 카트리지

플랫 스티치용

펀치 쓰레기통

펀치 구멍 스크랩을 수집합니다.