
|
No. |
Item Pilihan |
Gambaran keseluruhan |
|---|---|---|
|
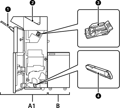
A1 |
Staple Finisher |
Susun dan kokot kertas sebelum mengeluarkannya. Tebuk lubang menggunakan unit penumbuk lubang pilihan. |
|
B |
Finisher Bridge Unit |
Untuk mengendalikan pengemas kokot atau pengemas buku kecil, anda perlu memasang unit jambatan pengemas. |
|
|
Dulang Penyudah |
Memegang dokumen yang disusun atau dikokot. |
|
|
Dulang Output |
Terutamanya menyimpan faks yang diterima. |
|
|
Katrij Kokot |
Untuk cantuman rata. |
|
|
Dulang Lebihan Tebukan |
Mengumpul cebisan kertas lubang tebuk. |