
|
|
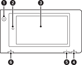
Butang kuasa Lampu kuasa |
|
|
Butang utama Mengembalikan anda ke skrin utama. |
|
|
Skrin sentuh Memaparkan item tetapan dan mesej. Apabila tiada operasi dilakukan untuk satu tempoh masa tertentu, pencetak akan memasuki mod tidur dan paparan dimatikan. Ketik di mana-mana sahaja pada skrin sentuh untuk menghidupkan paparan. Bergantung pada tetapan semasa, tindakan menekan butang kuasa akan membangkitkan pencetak daripada mod tidur. |
|
|
Lampu data Berkelip semasa pencetak memproses data dan menyala apabila terdapat tugas yang menunggu untuk diproses. |
|
|
Lampu ralat Menyala atau berkelip apabila ralat berlaku. Memaparkan sebarang ralat pada skrin. |
|
|
Lampu penerimaan faks Menyala apabila menerima dokumen yang belum diproses. |
Anda boleh mencondongkan panel kawalan.
