Les følgende instruksjoner før utskiftning av blekkpatronene.
Oppbevar blekkpatroner ved normal romtemperatur og hold dem unna direkte sollys.
Epson anbefaler at blekkpatronen brukes opp innen utløpsdatoen som er trykt på esken.
Oppbevar blekkpatronpakkene med bunnen ned for best resultat.
Når du har tatt inn en blekkpatron fra et kaldt lagringssted, bør du la den varmes opp ved romtemperatur i minst 12 timer før du tar den i bruk.
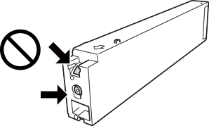
Ikke berør områdene som vises på illustrasjonen. Dette kan hindre normal bruk og utskrift.

Alle blekkpatroner må installeres, ellers kan du ikke skrive ut.
Ikke skru av skriveren ved lading av blekk. Hvis ladingen av blekket er ufullstendig, kan du kanskje ikke skrive ut.
Ikke la skriveren stå med blekkpatroner fjernet eller slå av skriveren under utskiftning av patroner. Det kan føre til at skriverhodedysene tørker ut, og du kan muligens ikke skrive ut.
Hvis du har behov for å fjerne en blekkpatron midlertidig, sørg for at tilførselsområdet for blekk er fritt for støv og skitt. Lagre blekkpatronen i de samme omgivelsene som skriveren, med blekktilførselsåpningen vendt til siden. Dette er fordi tilførselsåpningen er utstyrt med en ventil for utslipp av overflødig blekk. Det er ikke behov for egne deksler eller plugger.
Blekkpatroner du har tatt ut, kan ha blekk rundt blekkforsyningsporten, så vær forsiktig slik at du ikke søler blekk på området rundt når du tar ut blekkpatroner.
Denne skriveren bruker blekkpatroner med et grønt kretskort som overvåker informasjon slik som mengden gjenværende blekk for hver patron. Dette betyr at selv om patronen fjernes fra skriveren før den er tom, kan du fremdeles bruke den etter at den settes tilbake i skriveren.
For å garantere at du får utskrifter av førsteklasses kvalitet og for å beskytte utskriftshodet, vil det være en blekkreserve igjen i patronen selv om skriveren angir at patronen må byttes. Mengden som angis, inkluderer ikke denne reserven.
Selv om blekkpatronene kan inneholde resirkulert materiale, påvirker ikke dette skriverfunksjonaliteten eller -ytelsen.
Spesifikasjoner og utseende på blekkpatronen kan endres uten forvarsel ved forbedringer.
Du må ikke demontere eller modifisere blekkpatronen, da det kan føre til at du ikke vil kunne skrive ut på riktig måte.
Hvor mange sider som kan skrives ut, vil avhenge av hva du skriver ut, papirtypen som benyttes, utskriftsfrekvensen og miljømessige betingelser, for eksempel temperatur.
Du må ikke miste den i gulvet, eller slå den mot harde gjenstander, da dette kan føre til at blekket lekker.
For å opprettholde maksimal ytelse for skriverhodet, vil noe blekk forbrukes fra alle patronene ikke bare under utskrift, men også ved vedlikeholdshandlinger slik som rengjøring av skriverhodet.
Blekket i blekkpatronene som fulgte med skriveren, benyttes delvis under førstegangs oppsett. Skriverhodet i skriveren fylles fullstendig opp med blekk for å sikre utskrifter av høy kvalitet. Denne éngangsprosessen bruker opp litt blekk, og derfor kan disse patronene skrive ut færre sider sammenlignet med påfølgende blekkpatroner.