
|
|
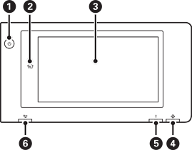
Tlačidlo napájania Indikátor napájania |
|
|
Tlačidlo Domov Slúži na návrat na domovskú obrazovku. |
|
|
Dotyková obrazovka Zobrazujú sa na nej položky nastavenia a hlásenia. Keď sa po určitú dobu nevykonajú žiadne činnosti, tlačiareň prejde do režimu spánku a obrazovka sa vypne. Klepnutím kdekoľvek na obrazovku zapnete displej. V závislosti od aktuálnych nastavení prebudí stlačenie vypínača tlačiareň z režimu spánku. |
|
|
Indikátor údajov Bliká, keď tlačiareň spracováva údaje. Svieti, keď sú nejaké úlohy čakajúce na spracovanie. |
|
|
Indikátor chyby Svieti alebo bliká pri výskyte chyby. Zobrazuje na obrazovke akékoľvek chyby. |
|
|
Indikátor prijímania faxu Zasvieti, keď sa prijímajú dokumenty, ktoré ešte neboli spracované. |
Ovládací panel môžete nakloniť.
