請在更換墨水匣之前閱讀以下說明。
將墨水匣存放於正常室溫下並遠離陽光直射。
Epson 建議,於包裝所列印的日期到期之前使用墨水匣。
為達最佳效果,存放時請將墨水匣包裝底部朝下。
將墨水匣從低溫存放處取出後,請在使用之前,先將其在室溫下放置至少 12 個小時。
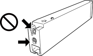
請勿觸碰下圖所示的部分。以免影響印表機的正常操作及列印。

請安裝所有墨水匣,否則將無法進行列印。
請勿在進行墨水設定時,關閉印表機。若未完成墨水設定工作,有可能無法列印。
請勿在墨水匣移除的狀況下閒置印表機,或是避免在更換墨水匣時關閉印表機。否則殘留在印字頭噴嘴上的墨水可能會乾掉,而造成無法列印。
若您需要暫時取出墨水匣,請小心切勿讓灰塵、異物進入墨水孔。請將墨水匣放在與印表機相同的環境中,並保持墨水孔朝側向。墨水孔中的活門設計是用以容納釋出的多餘墨水,因此您無需特別覆蓋或堵住墨水孔。
取出的墨水匣於墨水孔附近可能有殘留的墨水,取出墨水匣時,請小心不要讓周圍其他區域沾到墨水。
此印表機所使用的墨水匣附有綠色晶片,可記錄每個墨水匣的存量等的資訊。這表示即使印表機的墨水匣在用盡前先取出,於下次將此墨水匣重新裝入印表機時,仍可繼續使用。
為了確保最佳的列印品質以及保護印字頭,當印表機顯示需要更換墨水匣時,仍會有容量不一的安全墨水量保留在原墨水匣裡。提供的墨水匣列印量之張數,並不包含這些安全墨水量。
雖然墨水匣可能含有可回收材質,但並不影響印表機的功能或效能。
墨水匣的規格與外觀如有因改良而變更,恕不事先通知。
請勿拆解或改造墨水匣,否則可能無法正常列印。
所述的列印張數會根據列印的影像、使用的紙張種類、列印頻率,以及溫度等環境條件而有所差異。
請勿使墨水匣掉落或敲擊硬物,否則可能導致墨水漏出。
為維持印字頭的最佳效能,不僅列印時會使用到所有墨水匣中的部分墨水,印表機進行維護時 (如清潔印字頭),也會使用部分墨水。
第一次進行墨水設定時,會使用印表機隨附的墨水匣的部分墨水。為達到高品質的列印效果,印表機中的印字頭將會充分地填滿墨水。此程序僅發生於第一次設定時,因此這些墨水匣可列印的張數,會較後續所更換的墨水匣少一些。