> 使用選購的項目 > 一般裝訂器 (Staple Finisher) > 訂書針裝訂器部件名稱

訂書針裝訂器部件名稱

編號

選用項目

概覽

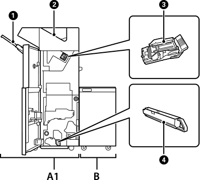
A1

Staple Finisher

退出前分類並用訂書針裝訂紙張。使用選購的打孔裝訂裝置打孔。

B

Finisher Bridge Unit

若要操作訂書針裝訂其或小冊子裝訂器,您需要安裝裝訂器橋接器。

裝訂分頁器托盤

存放經過排序或用訂書針裝訂好的文件。

出紙托盤

主要儲存接收傳真。

訂書針匣

用於平訂。

打孔廢紙托盤

收集打孔碎屑。