> 控制面板使用說明 > 控制面板

控制面板

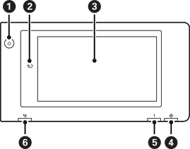
[電源鍵] [電源燈]

[主畫面鍵]

返回主畫面。

[觸控式螢幕]

顯示設定項目與訊息。

若在特定時間內未執行操作,印表機會進入睡眠模式,顯示畫面會關閉。點選觸控式螢幕的任何位置可開啟顯示畫面。視乎當前設定,按下電源鍵以將印表機從睡眠模式喚醒。

[資料指示燈]

印表機正在處理資料時,會閃爍;存在等候處理的工作時,會亮起。

[錯誤燈號]

發生錯誤時亮起或閃爍。

顯示畫面上的任何錯誤。

[傳真接收指示燈]

收到尚未處理的文件時會亮起。

您可以傾斜控制面板。