
|
No. |
Ixtiyoriy element |
Ko‘zdan kechirish |
|---|---|---|
|
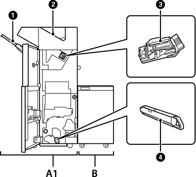
A1 |
Staple Finisher |
Qog‘ozlarni chiqarishdan avval ularni tartiblaydi va tikadi. Alohida xarid qilinadigan teshik teshish qurilmasidan foydalanib teshiklar teshadi. |
|
B |
Finisher Bridge Unit |
Tikish yakunlagichi yoki buklet yakunlagichini ishlatish uchun yakunlagich ko‘prigi blokini o‘rnatishingiz kerak. |
|
|
Yakunlagich lotogi |
Tartiblangan yoki taxlangan hujjatlarni ushlab turadi. |
|
|
Chiqqan hujjat tortmasi |
Asosan olingan fakslarni saqlaydi. |
|
|
Tikish kartridji |
Tekis tikish uchun. |
|
|
Teshik teshish chiqindilari lotogi |
Teshikdan chiqqan qoldiqlarni to‘playdi. |