
|
|
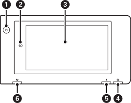
İşəsalma düyməsi İşəsalma işığı |
|
|
Əsas düyməsi Sizi əsas ekrana qaytarır. |
|
|
Sensor ekran Parametr elementləri və mesajları göstərir. Konkret vaxt müddətində heç bir əməliyyat həyata keçirilməzsə, printer yuxu rejiminə daxil olur və displey sönür. Displeyi yandırmaq üçün təmas ekranında istənilən yerə vurun. Cari parametrlərdən asılı olaraq, işəsalma düyməsinin basılması printeri yuxu rejimindən oyadır. |
|
|
Məlumatlar işığı Printer məlumatları emal etdikdə sayrışır və emalı gözləyən işlər olduqda yanır. |
|
|
Xəta işığı Xəta baş verdikdə yanır və ya sayrışır. Ekranda istənilən səhvləri göstərir. |
|
|
Faks qəbulu işığı Qəbul olunmuş sənədlər hələ emal olunmadıqda yanır. |
Siz idarəetmə panelini əyə bilərsiniz.
