
|
№ |
Допълнителен елемент |
Общ преглед |
|---|---|---|
|
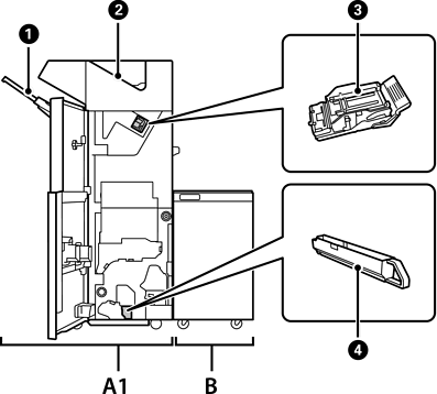
A1 |
Staple Finisher |
Сортира и закрепва с телбод хартията преди да я изхвърли. Пробива отвори с помощта на допълнително устройство за перфориране на отвори. |
|
B |
Finisher Bridge Unit |
За да работите с телбода или устройството за брошури, трябва да инсталирате мостовия модул на устройството. |
|
|
Тава на устройството |
Задържа сортирани или захванати с телбод документи. |
|
|
Изходна тава |
Основно за съхранение на получени факсове. |
|
|
Касета за телчета |
За странично закрепване. |
|
|
Тава за отпадък при перфориране |
Събира отпадъка от перфорираните отвори. |